12/06/2021
Sự phát triển của các thiết bị bán dẫn trong những năm 1990 đã cho phép chế tạo thiết bị vô tuyến sử dụng công nghệ số. Mặc dù công nghệ đã phát triển, song vẫn còn nhiều quan tâm nghiên cứu về SDR. Một mô hình ban đầu của SDR là SpeakEASY(theo hình 1.1 dưới đây):

Đây là một thiết bị vô tuyến xác định bằng phần mềm của quân đội Mỹ với các phương pháp điều chế khác nhau và các tần số khác nhau …SpeakEASY đã sử dụng và trình diễn sự chuyển đổi tần số số và xử lý tín hiệu băng rộng số, chỉ ra rằng các module vô tuyến (các module cho các phần tử tương tự, bộ chuyển đổi A/D và các bộ xử lý tín hiệu số - DSP) có thể tích hợp trên một tuyến cấu trúc mở. Phương pháp cấu trúc mở này làm tăng số lượng chế tạo và giảm giá thành. Hầu hết các máy thu và máy phát vô tuyến ngày nay tương tự như các thiết bị được sử dụng trong những thập kỷ trước. Chúng bao gồm các mạch tương tự chuyên dụng như mạch lọc, mạch giải điều chế & điều hưởng/điều chế một dạng sóng cụ thể. Khi công nghệ viễn thông liên tục phát triển từ tương tự sang số, nhiều chức năng của các hệ thống vô tuyến hiện thời được quản lý bằng phần mềm như thiết bị vô tuyến có cấu trúc mềm (SDR). Để tạo ra các hệ thống vô tuyến với độ linh hoạt cao, SDR hiện đang được phát triển cho các ứng dụng phát thanh và truyền hình. SDR cung cấp một hệ thống đa dạng các chương trình của máy thu/phát trên một nền tảng phần cứng riêng biệt.
Các chương trình trên máy thu hỗ trợ thực hiện lọc thông dải, tự động điều khiển hệ số khuyếch đại, chuyển đổi tần số, lọc thông thấp và giải điều chế tín hiệu mong muốn, tương tự như vậy ở máy phát. Với số lượng lớn nhất các chức năng điều khiển số, cho phép thiết bị vô tuyến tăng độ linh hoạt của mạch xử lý tín hiệu số.
1. Định nghĩa về SDR
Thiết bị vô tuyến có cấu trúc mềm (SDR) là thiết bị trong đó việc số hóa tín hiệu thu được thực hiện tại một tầng nào đó xuôi dòng từ anten, tiêu biểu là sau khi lọc dải rộng, khuyếch đại tạp âm nhỏ và hạ tần xuống tần số thấp hơn trong các tầng tiếp theo, quá trình số hóa tín hiệu phát diễn ra ngược lại. Việc xử lý tín hiệu số trong các khối chức năng có khả năng định lại cấu hình và mềm dẻo, xác định các đặc điểm của thiết bị vô tuyến.
Khi công nghệ phát triển, SDR có thể tiến tới thiết bị vô tuyến thông minh, trong đó việc số hóa được thực hiện tại (hoặc rất gần) anten và tất cả qúa trình xử lý yêu cầu cho thiết bị vô tuyến được thực hiện bởi phần mềm cài trong các thành phần xử lý tín hiệu số tốc độ cao. Như được minh họa trong hình 1.2: sự phát triển của SDR giai đoạn 1 gồm các thiết bị cầm tay tế bào và hệ thống truyền thông cá nhân - PCS.

Khi xem xét kỹ các khối này, chúng ta thấy được sự khác biệt rõ giữa SDR và SR (SoftWare Radio), đó là giai đoạn chuyển đổi cơ bản về cấu trúc của SDR tới SR. Sự thay đổi này là một hàm của những tiến bộ trong công nghệ lõi được cân bằng với toàn bộ phạm vi tiêu chuẩn thiết kế và các yêu cầu đối với sản phẩm vô tuyến. Công nghệ lõi trong trường hợp này bao gồm tối thiểu là các khả năng chuyển đổi tương tự - số - tương tự, các tiến bộ xử lý tín hiệu số, các thuật toán, các tiến bộ về bộ nhớ, bao hàm cả thuộc tính tương tự của các khối xây dựng cơ bản yêu cầu cho việc số hóa và xử lý các tín hiệu vô tuyến trong không gian số và bất kỳ sự chuyển đổi tần số cần thiết của môi trường tương tự. Tiêu chuẩn thiết kế và yêu cầu bao gồm các yếu tố về giá thành, độ phức tạp, chất lượng và hình dạng, kích thước, trọng lượng, mức tiêu thụ công suất…vv.
Trong thiết bị đầu cuối không dây thương mại cụ thể, như là các máy cầm tay tế bào hoặc các máy cầm tay dịch vụ truyền thông cá nhân (PCS) cần kết hợp nhiều loại giao diện công nghệ vô tuyến và các dải tần số trong thiết bị đầu cuối. Theo phương pháp thực hiện truyền thống, mỗi giao diện vô tuyến duy nhất hoặc kết hợp băng tần sẽ được xây dựng xung quanh một tập hợp các mạch ứng dụng cụ thể chuyên dụng hoặc các mạch tích hợp chức năng. Về cơ bản, các khả năng đó được mã hóa cứng và cố định tại thời điểm thiết kế hoặc sản xuất. Để tăng số dải hoặc phương thức được hỗ trợ thì các khối chức năng bổ sung được gắn thêm vào bên trong thiết bị đầu cuối. Các khối chức năng này sẽ hoạt động theo sự sắp xếp ma trận của các giao diện vô tuyến và các dải tần số để cung cấp một tập các khả năng được xác định trước.
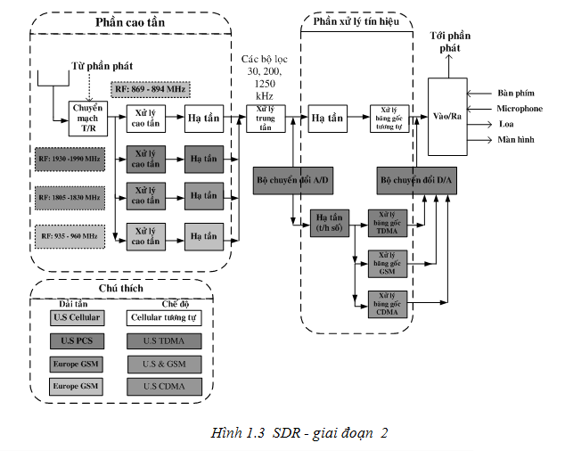
Ứng dụng ban đầu của thiết bị vô tuyến trên cơ sở phần mềm trong SDR được chỉ ra trong hình 1.3.

Ban đầu, những ưu điểm chính là sự thay thế công nghệ trong thực hiện. Các chế tạo tiếp theo dựa trên cơ sở này và đem lại khả năng mềm dẻo nhiều hơn: từ đơn giản là việc cập nhật chức năng vô tuyến, tới mức cao là tải xuống các giao diện vô tuyến mới qua đường vô tuyến. Việc phân chia các khả năng xử lý theo các chức năng vô tuyến và các ứng dụng rộng khắp của của phương tiện vô tuyến là đòn bẩy rất hiệu quả, làm tăng khả năng vô tuyến của SDR, đó là khả năng điều khiển dễ dàng, vượt ra khỏi các hạn chế vốn có trong các ứng dụng cụ thể và các khối chức năng cố định sẵn có trong các thiết bị hiện thời. Minh họa cho sự phát triển của SDR theo các hình 1.4, 1.5.


2. SDR - Thiết bị vô tuyến thông minh và thích nghi
Một thiết bị vô tuyến thông minh là thiết bị có khả năng thích nghi với môi trường hoạt động, vì thế làm tăng chất lượng và hiệu quả phổ. Khái niệm cơ bản làm nền tảng cho công nghệ này chính là khả năng thích nghi với môi trường của thiết bị một cách tự động (không có sự can thiệp của con người) nhằm tăng chất lượng và hiệu qủa. Thiết bị này yêu cầu sử dụng thông minh nhân tạo và máy tính hiện đại để xử lý các thuật toán thích nghi theo thời gian thực và dữ liệu thời gian thực từ các nguồn khác nhau bao gồm hạ tầng cơ sở mạng di động, các dải tần số vô tuyến (Radio Frequency - RF) sẵn có, các giao thức giao diện vô tuyến và các nhu cầu của người dùng, các ứng dụng, các yêu cầu hiệu suất (phụ thuộc vào người dùng cũng như phụ thuộc vào ứng dụng), môi trường truyền sóng và khả năng của SDR.
Thiết bị vô tuyến thông minh có thể thích nghi theo thời gian thực với môi trường truyền dẫn bằng cách dùng dạng sóng mạnh hơn được phát triển động khi môi trường truyền sóng xấu đi một cách nhanh chóng. Mặc dù, điều này dường như khá dễ để thực hiện trong thực tế song nó rất phức tạp bởi vì cần có sự tương tác giữa hạ tầng cơ sở mạng di động và nhu cầu thiết bị vô tuyến để xử lý tất cả các yếu tố nêu trên.
3. SDR - Thiết bị vô tuyến số, đa dải, đa chế độ
Thiết bị vô tuyến số là thiết bị trong đó tín hiệu được số hóa tại điểm nào đó giữa anten và các thiết bị đầu vào/đầu ra. Thiết bị vô tuyến số không nhất thiết có nghĩa là SDR, song SDR là thiết bị vô tuyến số. Một thiết bị vô tuyến có thể là số nhưng nếu qúa trình xử lý tín hiệu xảy ra sau bộ chuyển đổi A/D được thực hiện bởi mục đích đặc biệt, dùng các vi mạch chuyên dụng (ASICs) thì nó không phải là một thiết bị có cấu trúc mềm (SDR).
Đa dải là khả năng của máy di động hoặc các trạm gốc để hoạt động trong nhiều dải tần số của phổ. Đa chế độ liên quan tới khả năng của máy di động hoặc trạm gốc để thực hiện đa chế độ (đa chuẩn giao diện vô tuyến, nhiều kỹ thuật điều chế, hoặc nhiều phương pháp đa truy cập). Khả năng đa dải/đa chế độ có thể được thực hiện bằng các kỹ thuật đa dạng của phần cứng và phần mềm, kể cả SDR.
4. SDR - Thiết bị vô tuyến có cấu trúc mềm
Theo sơ đồ (hình 1.6), bộ chuyển đổi A/D được đặt sau tầng trung gian. Quá trình xử lý băng gốc được điều khiển bằng phần mềm và giao diện người/máy cho phép người sử dụng có thể nhập vào một vài hướng dẫn thực hành. Cấu trúc này được coi là thiết bị vô tuyến có cấu trúc mềm (SDR) giai đoạn 1, vì một số chứ không phải toàn bộ quá trình xử lý tín hiệu được thực hiện bằng phần mềm. Tất nhiên việc xử lý tín hiệu băng gốc số có thể thực hiện trong ASIC, khi đó thiết bị sẽ là vô tuyến số chứ không phải là SDR.

Cùng với sự phát triển của công nghệ, các thiết bị SDR được nâng cấp và cải tiến hơn, đó là SDR thông minh và thích nghi (AI - SDR).

Khi đó, bộ chuyển đổi A/D đưa lên gần anten hơn với hai khái niệm :
- Khái niệm thiết bị vô tuyến có cấu trúc mềm, thực hiện số hóa gần anten.
- Khái niệm thiết bị vô tuyến có cấu trúc mềm thông minh và thích nghi.
Theo hình 1.7, bộ chuyển đổi nằm ngay sau bộ khuyếch đại tạp âm nhỏ và bộ lọc khử răng cưa, nghĩa là số hóa ở cao tần. Qúa trình xử lý trung gian và cao tần khác được thực hiện bởi phương tiện đầu vào cao tần dải rộng. Trường hợp (không được đưa ra) sẽ là thế hệ giữa các cấu trúc được trình bày trong hình 1.6 - 1.7, trong đó có sự chuyển đổi tần số trực tiếp từ cao tần xuống băng gốc, do đó loại bỏ quá trình xử lý trung gian tương tự. Vì vậy, chúng ta có thể mong đợi và dự đoán được tương lai sẽ cần có bộ khuyếch đại tạp âm nhỏ tương tự ở đầu vào cao tần của máy thu và bộ khuyếch đại công suất ra tương tự ở phần cao tần của máy phát. Song bộ chuyển đổi A/D trong SDR lý tưởng đặt ngay gần anten là không thể được trong thực tế, nhưng tất nhiên đó là mục tiêu cuối cùng của các chuyên viên thiết kế công nghệ.
Hình 1.7 cũng minh họa khái niệm AI-SR, trong đó thiết bị vô tuyến có khả năng thích nghi với môi trường hoạt động. Động cơ xử lý sau phần cao tần chịu sự điều khiển của động cơ xử lý điều khiển phần mềm có công suất lớn. Phần xử lý điều khiển phần mềm này cung cấp các dữ liệu nhân tạo và các thuật toán xử lý nhằm tạo cho SDR có khả năng thích nghi cao. Trên thị trường vô tuyến thương mại, đây là loại xử lý cần kết hợp với việc phân bố phổ thích nghi, phổ gián đoạn và phổ theo yêu cầu hoặc quản lý phổ thích nghi. Trong khi khả năng này là mục tiêu mong đợi cao, kế hoạch nghiên cứu bên trong các bộ phận cần đặt ra khả năng này. Chú ý các yêu cầu đầu vào lớn, bao gồm thông tin từ cơ sở mạng di động và nguồn khác bên ngoài hệ thống không dây.
5. Đặc điểm của SDR
SDR cho phép tồn tại đồng thời các module đa phần mềm thực hiện các chuẩn khác nhau trên cùng một hệ thống với cấu hình động bằng cách lựa chọn module phần mềm thích hợp để chạy. Cấu hình động này được kết hợp trong các máy di động cũng như các thiết bị hạ tầng cơ sở. Cơ sở mạng không dây có thể tự mình định lại cấu hình của chính nó cho phù hợp với các loại máy di động của các thuê bao hoặc các máy di động của các thuê bao có thể tự nó định lại cấu hình với các loại mạng tương ứng. Công nghệ này làm đơn giản hóa hoạt động của các thiết bị cơ sở và thiết bị đầu cuối đa dịch vụ, đa mode, đa dải và đa chuẩn,…vv.
SDR có thể thực hiện các chuẩn giao diện vô tuyến bởi các module phần mềm và các module thực hiện các chuẩn khác nhau có thể cùng tồn tại trên các thiết bị cơ sở và các máy di động. Điều này đảm bảo độ tin cậy cho tiện ích lưu động toàn cầu của các thiết bị. Nếu các thiết bị đầu cuối không phù hợp với công nghệ mạng trong một miền cụ thể, khi đó một module phần mềm tương thích cần được cài đặt trên máy di động đó (có thể qua đường vô tuyến), kết qủa là mặc dù mạng không ghép nối song vẫn truy cập qua các vùng địa lý khác nhau. Ngoài ra, nếu các máy di động của thuê bao là các máy thế hệ cũ thì các thiết bị cơ sở có thể dùng module phần mềm hoạt động với chuẩn cũ để kết nối với máy di động đó.
Các thiết bị vô tuyến có cấu trúc mềm - SDR đơn giản hóa hoạt động của các hệ thống vô tuyến có cấu trúc mở. Những người dùng ở đầu cuối có thể nâng cấp các ứng dụng mới cho các máy di động của họ mà không cần ghép nối, như trong một hệ thống máy tính cá nhân. Điều này càng nâng cao sức hấp dẫn và các tiện ích của các máy di động.
Ngoài ra, SDR còn có các đặc điểm sau :
- Tầm liên lạc được mở rộng.
- Cơ sở hạ tầng được dùng chung.
- Khả năng tận dụng phổ tốt hơn.
- Sự thử nghiệm cho tương lai.
- Chi phí thấp hơn (đầu tư vốn).
- Có các nguồn lợi mới.