17/10/2022
1. GIỚI THIỆU
Nhà thông minh được thiết kế sử dụng raspberry pi 3 cho việc điều khiển và giám sát những thiết bị trong nhà thông qua việc giao tiếp với Chatbot. Sau khi nhận được yêu cầu của người dùng, Chatbot gửi thông tin đến raspberry để thực hiện điều khiển phần cứng, đồng thời xử lí đưa ra câu trả lời cho người dùng.
Các yêu cầu điều khiển từ người dùng bao gồm:
- Thực hiện các yêu cầu đóng mở các thiết bị như đèn, quạt.
- Thực hiện đóng mở cửa bằng động cơ servo.
- Gửi thông tin về nhiệt độ, độ ẩm của căn phòng khi có yêu cầu của người dùng.
- Thực hiện được yêu cầu dự báo thời tiết như.
2. THIẾT KẾ VÀ THIẾT KẾ HỆ THỐNG
2.1 Thiết kế sơ đồ khối hệ thống
a. Sơ đồ khối hệ thống

Hình 3.1: Sơ đồ khối hệ thống
Giải thích các khối trong hệ thống
b. Sơ đồ mô hình hệ thống

Hình 3.2: Sơ đồ thiết kế mô hình
2.2 Sơ đồ khối chi tiết của hệ thống

Hình 3.3: Sơ đồ khối chi tiết hệ thống.
Giải thích chi tiết sơ đồ khối của hệ thống
- Hệ thống điều khiển: Có nhiệm vụ đọc giá trị từ các cảm biến, thực hiện xử lý theo các giải thuật đã lập trình, căn cứ vào kết quả xử lý thông tin mà điều khiển hệ thống quạt đèn cửa. Giao tiếp với thiết bị di động để theo dõi, giám sát thông qua mạng Internet.
- Hệ thống cảm biến:
+ Cảm biến nhiệt độ, độ ẩm: Có tác dụng đọc giá trị độ ẩm hiện tại.
- Ứng dụng trên thiết bị di động: Người dùng sẽ sử dụng một ứng dụng trên Smartphone để theo dõi, giám sát nhiệt độ, độ ẩm hiện tại trong nhà và dự báo thời tiết. Các thông số sẽ được gửi đến điện thoại thông qua mạng Internet.
- Nguồn: Một nguồn sẽ cung cấp trực tiếp từ ngoài vào cho bộ vi xử lý trung tâm và các cảm biến sẽ lấy nguồn trực tiếp từ bộ vi xử lý trung tâm này để hoạt động. Các phần khác của hệ thống như đèn, quạt, đèn, servo sẽ dùng nguồn điện 12V.
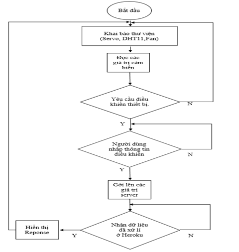
2.3 Lưu đồ thuật toán

Hình 3.4: Lưu đồ thuật toán